✕
8 800 775-77-55
О компании
Контакты
Оплата и доставка
Тендеры и гос. заказ
8 800 775-77-55
Заказать звонок
3
Calabria
Каталог запасных частей
Инструкция по эксплуатации
Техобслуживание
Сервис
Сайт Запасные части для кормораздатчиков Celikel
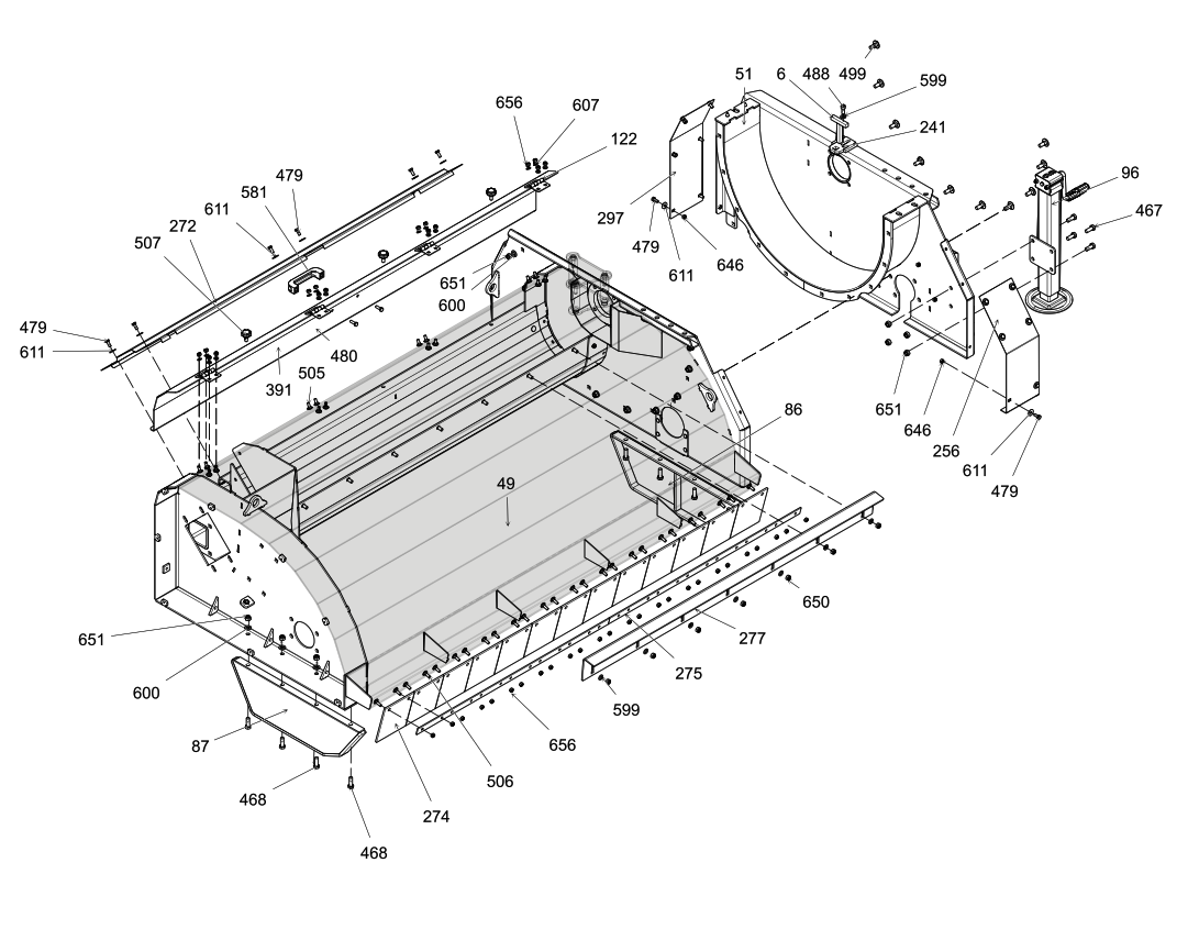
Загрузочный ковш
Колесо со ступицей в сборе
Ступица левого колеса в сборе
Коробка передач
Ступица правого колеса в сборе
160 Поворотный регулятор
Гидравлический блок управления
Бункер
360 Поворотный регулятор
Трансмиссия
Весовая система
Гидравлическая система поднятия крышки
Гидравлическая трансмиссия
Трансмиссия
Шнеки и задняя крышка
Система шасси
Гидравлическая система правой крышки
Группа гидравлических масляных баков
Вал и трансмиссия
Скачать каталог
Запасные части для кормораздатчиков Celikel Calabria
6. CL06655-001
49. CL65276-003
51. CL65298-003
86. CL65416-001
87. CL65417-001
96. CL66576-001
122. MNTS01-M-60X75-01
241. CL64786-002
256. CL64899-001
272. CL65044-001
274. CL65072-001
275. CL65079-001
277. CL65094-001
297. CL65233-001
391. CL65411-002
467. CVT02-M12X30-01
468. CVT02-M12X35-01
479. CVT02-M8X20-01
480. CVT02-M8X25-01
488. CVT04-M10X25-01
499. CVT07-M12X30-01
505. CVT07-M8X20-01
506. CVT07-M8X25-01
507. CVT19-M10X20
581. KULP01-M8-130
599. PUL01-M10-01
600. PUL01-M12-01
607. PUL01-M8-01
611. PUL02-M8-01
646. SMN01-M8-01
650. SMN06-M10-01 Гайка
651. SMN06-M12-01
656. SMN06-M8-01
✕
Заказать звонок
Заказать
✕
Заказать звонок
Спасибо, менеджер скоро перезвонит вам.