✕
8 800 775-77-55
О компании
Контакты
Оплата и доставка
Тендеры и гос. заказ
8 800 775-77-55
Заказать звонок
2
U17
Каталог запасных частей
Инструкция по эксплуатации
Техобслуживание
Сервис
Сайт Запасные части для миниэкскаваторов Yuchai
41. SUSPENSION SYSTEM
18. HYDRAULIC SYSTEM FOR PILOT PART 4
35. COOLING SYSTEM
4.BOOM
11.HYDRAULIC SYSTEM FOR PLATFORM 5
2.SLEWING PLATFORM
28. FRONT BOX COVER ASSEMBLY
17. HYDRAULIC SYSTEM FOR PILOT PART 3
9.HYDRAULIC SYSTEM FOR PLATFORM 3
19.HYDRAULIC SYSTEM FOR WORKING EQUIPMENT
44. ELECTRICAL ASSEMBLY FOR ENGINE
8.HYDRAULIC SYSTEM FOR PLATFORM 2
30. OVERLAY ASSEMBLY 1
27. INSTRUMENT BRACKET ASSEMBLY
5.ARM
3.DOZER UNIT
42. ENGINE SPARE PARTS
16. HYDRAULIC SYSTEM FOR PILOT PART 2
26. RIGHT CONTROL BOX ASSEMBLY
7.HYDRAULIC SYSTEM FOR PLATFORM 1
36. AIR INLET SYSTEM
32. OVERLAY ASSEMBLY 3
15. HYDRAULIC SYSTEM FOR PILOT PART 1
13. HYDRAULIC SYSTEM FOR PLATFORM 7
20. HYDRAULIC SYSTEM FOR ATTACHMENT EQUIPMENT 1
46. ELECTRICAL ASSEMBLY FOR CAB
22. SEAT FRAME
25. SEAT ASSEMBLY
38. EXHAUST SYSTEM
49. CANOPY
12. HYDRAULIC SYSTEM FOR PLATFORM 6
40. POWER OUTPUT SYSTEM
21. HYDRAULIC SYSTEM FOR ATTACHMENT EQUIPMENT 2
14. HYDRAULIC SYSTEM FOR CHASSIS
37. THROTTLE CONTROL SYSTEM
23. LEFT CONTROL BOX ASSEMBLY
1.CHASSIS ASSEMBLY
31. OVERLAY ASSEMBLY 2
39. FUEL SYSTEM
43. ELECTRICAL ASSEMBLY FOR PLATFORM
45. BATTERY ASSEMBLY
33. OVERLAY ASSEMBLY 4
24. TRAVEL MECHANISM
10.HYDRAULIC SYSTEM FOR PLATFORM 4
34. SLEWING ASSEMBLY
29. SPONGE COMPONENT
6.BUCKET
47. ELECTRICAL ASSEMBLY OF CONTROL BOX
48. ELECTRICAL ASSEMBLY FOR BOOM LAMP
Запасные части для миниэкскаваторов Yuchai U17
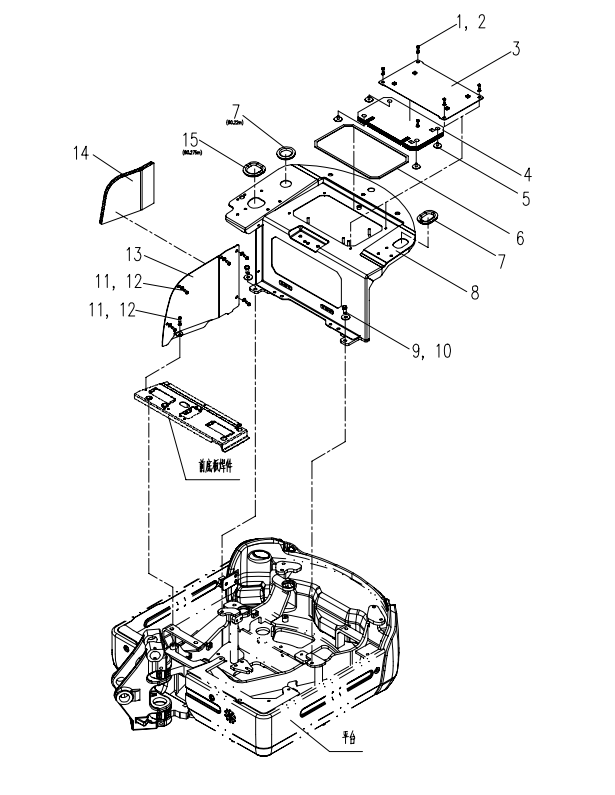
1. 0206-000800020-65 Bolt
В корзину
-
+
12. 0404-008-05 Washer
В корзину
-
+
3. U17A1-0614100A Cover plate weldme
В корзину
-
+
4. U17A1-0614001A Sponge
В корзину
-
+
5. T0812-010001 Plastic nai
В корзину
-
+
6. E27A1-0610006 Gasket
В корзину
-
+
7. 825E-0200005 Rubber strip
В корзину
-
+
8. U17A1-0611000B Seat fram
В корзину
-
+
9. 0206-001000025-84 Bolt
В корзину
-
+
10. 0404-010-05 Washer
В корзину
-
+
11. 0106-000800020-65 Bolt
В корзину
-
+
13. U17A1-0610031A Right side panel
В корзину
-
+
14. U17A1-0610032A Sponge
В корзину
-
+
15. T0814-040004 Adhesive tape
В корзину
-
+
✕
Заказать звонок
Заказать
✕
Заказать звонок
Спасибо, менеджер скоро перезвонит вам.