✕
8 800 775-77-55
О компании
Контакты
Оплата и доставка
Тендеры и гос. заказ
8 800 775-77-55
Заказать звонок
10
PERKINS 404J-E22T
Каталог запасных частей
Инструкция по эксплуатации
Техобслуживание
Сервис
Сайт Запасные части для погрузчиков с бортовым поворотом Locust
Датчики
Приводной шкив вентилятора
Топливная магистраль
Головка блока цилиндров
Корпус маховика
Фильтр для смазочного масла
Блок цилиндров
Коленчатые датчики 2
Топливный фильтр 2
Топливный фильтр
Переключатель манометр давления смазочного масла
Предупреждающие надписи
Система снижения выбросов NOx 3
Генератор переменного тока и крепления
Шкив коленчатого вала
Идентификационные метки двигателя
Датчик температуры
Турбонагнетатель
Форсунки
Коленчатый вал, Главные подшипники и большие концевые подшипники
Маховик и стартерное кольцо
Вентилятор
Система впуска воздуха
Стартер
Щуп и наливная трубка
Передняя крышка
Масляный насос
Система снижения выбросов NOx 4
Блок цилиндров 2
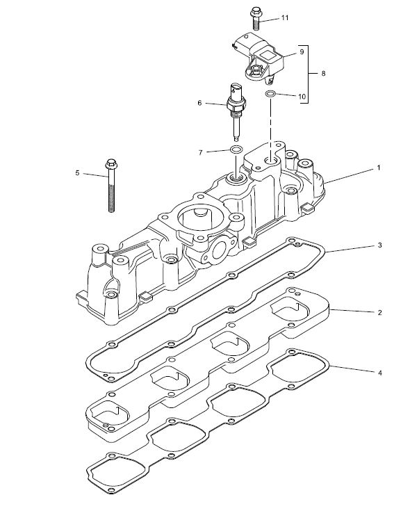
Впускной коллектор 2
Модуль управления двигателем
CEM - Опорный кронштейн
Кулачковые датчики
Водяной насос
Жгут проводов
Система снижения выбросов NOx
Монтаж привода вентилятора
Топливопроводы высокого давления
Выпускной коллектор
Поршни и шатуны
Подъемные проушины двигателя
Передняя панель
Поддон для смазочного масла
Система холодного пуска
Предохранительный клапан
Крышка головки блока цилиндров
Труба подачи масла для турбонаддува правильное
Поршни и шатуны 2
Впускной коллектор
Топливный насос высокого давления 2
Трубы
Заглушка
Масляный радиатор
Головка блока цилиндров2
Масляный фильтр
Труба для слива масла турбонаддува
Ремень генератора переменного тока
Термостат и корпус
Топливный фильтр 4
Ось балансира
Выпускной патрубок
Топливный насос высокого давления
Распределительный вал
Жгут проводов 2
Заднее масляное уплотнение
Синхронизация корпуса
Система снижения выбросов NOx 5
Труба для отвода топлива
Система снижения выбросов NOx 2
Корпус для отвода воды
Топливный фильтр 3
Скачать каталог
Запасные части для погрузчиков с бортовым поворотом Locust PERKINS 404J-E22T
1. T432092
В корзину
-
+
2. 135596911
В корзину
-
+
3. U35997180
В корзину
-
+
4. U35997170
В корзину
-
+
5. 2314F013
В корзину
-
+
6. T432195
В корзину
-
+
7. 2415H011
В корзину
-
+
8. T431796
В корзину
-
+
10. T432194
В корзину
-
+
11. 2314F005
В корзину
-
+
✕
Заказать звонок
Заказать
✕
Заказать звонок
Спасибо, менеджер скоро перезвонит вам.