✕
8 800 775-77-55
О компании
Контакты
Оплата и доставка
Тендеры и гос. заказ
8 800 775-77-55
Заказать звонок
10
PERKINS 404D-22T
Каталог запасных частей
Инструкция по эксплуатации
Техобслуживание
Сервис
Сайт Запасные части для погрузчиков с бортовым поворотом Locust
Подъемный насос 88.6
Приборы 2
Корпус синхронизатора 3
Корпус синхронизатора
Разно 2
Топливный фильтр
Трубопровод и включение 88.7
Маховик и зубчатый венец
Впрыскиватель в сборе
Топливный предварительный подъемный насос 86.92
Электромонтаж
Топливный предварительный подъемный насос 86.9
Трубопровод высокого давления 87.7
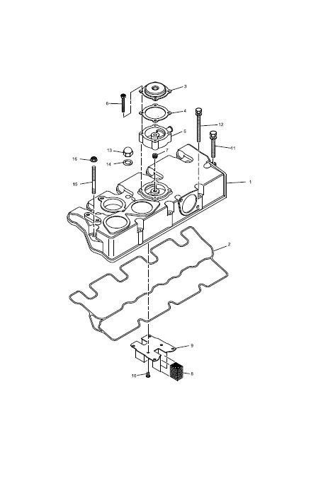
Крышка головы цилиндров
Воздухопровод 2
Выпускной корпус воды
Щуп и трубка 2
Стартер
Голова цилиндров 2
Картер 2
Шкив
Подъемные ушка двигателя 86.7
Голова цилиндров
Корпус синхронизатора 2
Стартер 2
Турбокомпрессор 2
Клиновой ремень 88.3
Воздухопровод
Фильтр масла
Масляная сетка
Водяной насос
Коробка маховика
Расширение вентилятора
Система холодного запуска
Коробка маховика 2
Фильтр масла 2
Ось коромысла в сборе
Капитальный ремонт двигателя 89.4
Картер
Приборы
Коленчатый вал и подшипники
Предохранительный клапан 87.4
Масляной насос
Масляная сетка 2
Капитальный ремонт двигателя 2
Шкив коленчатого вала
Трубопровод
Коленчатый вал
Термостат и корпус термостата 88.1
Выхлопной трубопровод 2
Управление дроссельной заслонкой и остановкой 88.8
Радиатор масла
Корпус распределения по времени 5
Разно
Пробка
Корпус синхронизатора 4
Турбокомпрессор
Поршни и шатуны
Выход привода переднего конца 88.4
Трубопровод высокого давления 87.6
Трубопровод для слива топлива
Генератор переменного тока
Уплотнение
Стартер 3
Выхлопной трубопровод
Щуп и трубка
Скачать каталог
Запасные части для погрузчиков с бортовым поворотом Locust PERKINS 404D-22T
1. 12837024
В корзину
-
+
2. 12837009
В корзину
-
+
3. 12837010
В корзину
-
+
4. 12837025
В корзину
-
+
5. 12837026
В корзину
-
+
6. 12837027
В корзину
-
+
7. 12837028
В корзину
-
+
8. 12837016
В корзину
-
+
9. 12837015
В корзину
-
+
10. 12837017
В корзину
-
+
11. 12837018
В корзину
-
+
12. 12837019
В корзину
-
+
13. 12837020
В корзину
-
+
14. 12837021
В корзину
-
+
15. 12837022
В корзину
-
+
16. 12837023
В корзину
-
+
✕
Заказать звонок
Заказать
✕
Заказать звонок
Спасибо, менеджер скоро перезвонит вам.