✕
8 800 775-77-55
О компании
Контакты
Оплата и доставка
Тендеры и гос. заказ
8 800 775-77-55
Заказать звонок
7
150S
Каталог запасных частей
Инструкция по эксплуатации
Техобслуживание
Сервис
Сайт JingGong
Комплект уплотнителей 1
Цилиндр стрелы
Стрела в сборе
Трансмиссия
Рулевой мотор в сборе 1
Трансмиссия в сборе
Рулевой мотор в сборе 2
Распределительный клапан в сборе 1
Рулевой мотор и редуктор в сборе 5
Плунжерный насос в сборе 1
Двигатель в сборе
Тормозная система
Задняя ведущая ось
Сиситема управления
Ковш
Гидравлическая система
Цилиндр отвала
Распределительный клапан в сборе 2
Узлы внешнего корпуса
Плунжерный насос в сборе 2
Передняя ведущая ось
Система рулевого управления
Рулевой мотор и редуктор в сборе 3
Цилиндр ковша
Верхняя часть рамы шасси
Соединительный шатун в сборе
Нижняя часть рамы шасси
Масляный бак
Цилиндр штока ковша
Рулевой мотор и редуктор в сборе 4
Рулевой мотор и редуктор в сборе 2
Электрическая система
Рукоять в сборе
Редуктор в сборе
Система кондиционирования воздуха
Рулевой мотор и редуктор в сборе
Цилиндр выносной опоры
Рулевой мотор и редуктор в сборе 6
Комплект уплотнителей 2
Скачать каталог
JingGong 150S
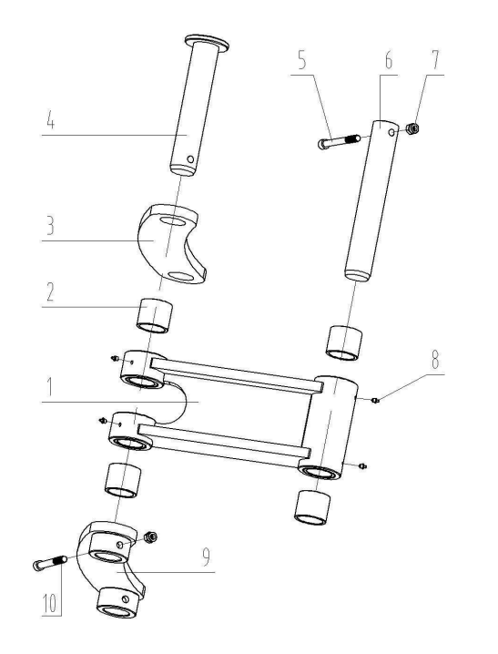
1. A020016 Соединительный стержень
В корзину
-
+
2. A030071 Втулка шатуна
В корзину
-
+
3. A020017 Правое коромысло (изогнутый рычаг)
В корзину
-
+
4. A020027 Соединительный штифт между шатуном и масляным цилиндром
В корзину
-
+
5. H010356 Болт с шестигранной головкой 12.9
В корзину
-
+
6. A010047 Ковшовый штифт
В корзину
-
+
7. H010360 Стопорная гайка M16
В корзину
-
+
8. H010587 Ниппель
В корзину
-
+
9. A020037 Левое коромысло (изогнутый рычаг)
В корзину
-
+
10. H010352 Болт с шестигранной головкой 12.9
В корзину
-
+
✕
Заказать звонок
Заказать
✕
Заказать звонок
Спасибо, менеджер скоро перезвонит вам.