✕
8 800 775-77-55
О компании
Контакты
Оплата и доставка
Тендеры и гос. заказ
8 800 775-77-55
Заказать звонок
6
Challenger II
Каталог запасных частей
Инструкция по эксплуатации
Техобслуживание
Сервис
Сайт Запасные части для кормораздатчиков Celikel
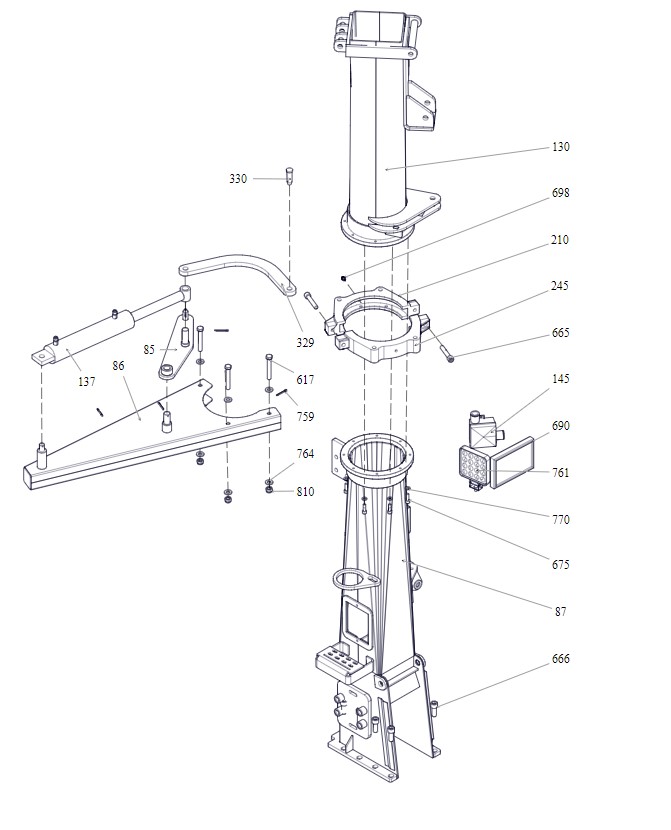
Направляющие в сборе
Группа трубы поворотная на 360°
Коробка передач
Коробка передач
Малая коробка передач
Большая коробка передач
Узел шасси переднего барабана
Общая группа маховиков
Поддон коробки передач
Узел трансмиссии маховика
Узел приемника и трансмиссии
Группа заточки
Группа вытяжек
Натяжной узел втулки шкива
Группа натяжения ремня 3hb
Верхняя труба
Тонкая зубчатая шаровая коробка передач
Группа барабанных дисков
Группа втулок маховика
Передняя барабанная группа
Вал трансмиссионной группы-1
Колесно-осевой узел
Коробка передач маховика
Барабанная группа
Группа трубы поворотная на 160°
Группа натяжения ремня безопасности
Группа гидравлического управления
Маховик
Скачать каталог
Запасные части для кормораздатчиков Celikel Challenger II
85. CL06775
В корзину
-
+
86. CL06776
В корзину
-
+
87. CL06778
В корзину
-
+
130. CL68635
В корзину
-
+
137. HS01-385x571-BL
В корзину
-
+
145. BOAT01-80X80X50
В корзину
-
+
210. CL06858
В корзину
-
+
245. CL06903
В корзину
-
+
329. CL07042
В корзину
-
+
330. CL07043
В корзину
-
+
617. CVT01-M12X80-01
В корзину
-
+
665. CVT03-M12X65-01
В корзину
-
+
666. CVT03-M14X35-01
В корзину
-
+
675. CVT04-M8X25-01
В корзину
-
+
690. ELK01-7ДЮЙМАMONITOR
В корзину
-
+
698. GRE01-G5.16-DUZ
В корзину
-
+
759. PİM01-4X32-01
В корзину
-
+
761. PRJ01-16LED
В корзину
-
+
764. PUL01-M12-01
В корзину
-
+
770. PUL01-M8-01
В корзину
-
+
810. SMN06-M12-01
В корзину
-
+
✕
Заказать звонок
Заказать
✕
Заказать звонок
Спасибо, менеджер скоро перезвонит вам.