✕
8 800 775-77-55
О компании
Контакты
Оплата и доставка
Тендеры и гос. заказ
8 800 775-77-55
Заказать звонок
0
VJ57
Каталог запасных частей
Инструкция по эксплуатации
Техобслуживание
Сервис
Сайт Запасные части для погрузчиков с бортовым поворотом Bawoo
Воздухоочиститель Kubota
Воздухоочиститель Hyundai
Кабина оператора, Тип кабины
Приборная панель - Для типа кабины
Регулирующий клапан для джойстика
Двигатель Kubota
Рулевые рычаги
Регулирующий клапан
Рулевые рычаги для джойстика
Гидравлическая линия ковша для джойстика
Детали, связанные с двигателем
Боковая крышка
Шестеренный насос для джойстика, Danfoss
Наклонный цилиндр
Кабина и шина оператора
Шестеренный насос
Электрические части
Кабельная линия
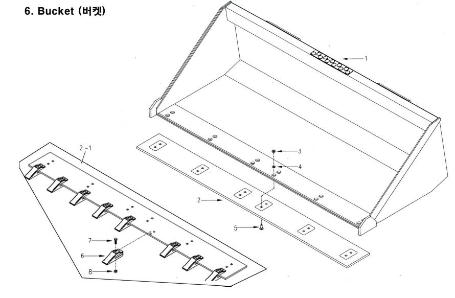
Ведро
Обогреватель
Радиатор и охладитель Kubota
Насос
Чехол для джойстика
Гидравлическая линия подъемного рычага для джойстика
Приводной насос - Передний
Гидравлическая линия приводной части для джойстика
Глушитель Hyundai
Крышка машинного отделения
Гидравлика и топливный бак
Регулирующий клапан, Джойстик
Вал двигателя
Приводной насос- задний
Двойной гидравлический масляный фильтр
Кабельная линия для джойстика Kubota
Сетчатая пружина в сборе
Ступица в сборе
Топливопровод Kubota
Радиатор и охладитель
Двигатель Hyundai
Приводной насос для джойстика
Главная гидравлическая линия
Передняя дверь в сборе
Гидравлическая линия подъемного рычага
Гидравлическая линия ковша
Глушитель Kubota
Быстрый тахометр
Вспомогательная гидравлическая линия
Приводной двигатель
Регулирующий клапан
Электрическая система
Гидравлическая линия приводной части
Подъемный цилиндр
Подъемный рычаг
Главная гидравлическая линия для джойстика
Кабельная линия для джойстика Hyundai
Топливопровод Hyundai
Насос для джойстика
Покрытие
Гидравлическая линия гидравлического стояночного тормоза для джойстика
Скачать каталог
Запасные части для погрузчиков с бортовым поворотом Bawoo VJ57
1. V57-0601
В корзину
-
+
2. V57-0602
В корзину
-
+
2-1. V57-0603
В корзину
-
+
3. V57-0604
В корзину
-
+
4. V57-0605
В корзину
-
+
5. V57-0606
В корзину
-
+
6. V57-0607
В корзину
-
+
7. V57-0608
В корзину
-
+
8. V57-0609
В корзину
-
+
✕
Заказать звонок
Заказать
✕
Заказать звонок
Спасибо, менеджер скоро перезвонит вам.